{{ v.name }}
{{ v.cls }}类
{{ v.price }} ¥{{ v.price }}
前不久,有着“天下第一名刹”的嵩山少林寺上热搜了!
9月1日,嵩山少林寺发布声明,斥责森马服饰在未取得授权的情况下,在多种渠道销售“Semir国潮跨界合作-国潮少林功夫森马”系列服装,侵犯了少林寺的知识产权。
但随后被媒体爆出:嵩山少林寺作为宗教机构,自上世纪90年代开始,广泛布局商标,进行品牌保护,并将“东少林”、“南少林”、“西少林”、“北少林”全部注册成功,疑有抢注之嫌。

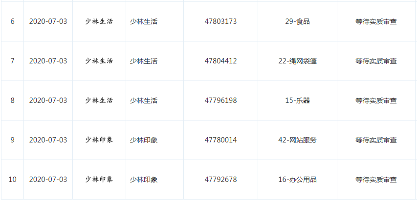
注册666个商标惹争议
从1997年起至发文前,中国嵩山少林寺共计申请了666个商标,其中大多数与少林相关。广泛申请的“少林功夫”、“少林印象”、“少林生活”、“少林寺”等商标,有些甚至涵盖了全品类。

有不少网友认为,“少林功夫”系社会“公共品”,应该属于全社会,嵩山少林寺维权之举实则是为维护商业利益,存在不妥。对此,嵩山少林寺回应称,少林寺名称曾被滥用,甚至推出所谓“少林秘方”等,注册商标是为了保护少林品牌。
少林寺注册商标是否合法
多名律师公开表示:嵩山少林寺申请注册“少林功夫”商标并进行维权,并不违反法律规定。少林寺是法律认可的一个组织,以该组织名义申请商标,在法律层面不存在问题。商标注册一方面是为开展经营活动,另一方面是为有效保护品牌和商誉。因此商标注册与大众所认为的“少林功夫属于全社会”并无冲突。
在布局商标保护这块,嵩山少林寺是认真的。通过针对性地强化商标注册,一方面,有助于维护自身权益、减少被山寨的风险;另一方面,当发生侵权行为时,可以后发制人,保护品牌形象。但纵观当前企业,能够做到少林寺这般考虑周全的委实不多。
在企业发展过程中,不乏因品牌缺少商标保护意识而受制于人,最终花天价购买商标,或被迫改名的例子。就好比知名的火锅品牌“晓宇火锅”改名为“渝味晓宇”;网红奶茶“皇茶”改名为“喜茶”。从这个意义上讲,少林寺不仅给森马服饰企业上了一课,也给其他企业提了个醒。
如何进行商标保护
“品牌需保护,商标注册第一步”!商标在注册时,除去本身产品所属类别外,从防御角度来说,还要考虑延伸进其他领域,尽可能多地注册。
一、覆盖企业现有的业务范围
例如,一家卖洗衣液的企业,应该在第3类日化用品注册商标。
二、囊括企业未来的业务范围
比如洗衣液企业将来要生产刷子、头梳等产品,则可提前注册第20类家具工艺,未雨绸缪。
三、延伸到易混淆的商品类别
比如洗衣液容易跟消毒剂、杀真菌剂等第5类医药试剂混淆,企业也需一并注册,防范于未然。
四、商标自身的可能性类别
比如洗衣液企业,它跨界联合出服饰、包包,则在第25类服装鞋帽类注册,提前部署不可少。
五、对企业产生负面影响的类别
比如一家印染企业,想要注册洗衣液企业的商标,而此前洗衣液企业抢先注册第2类颜料油漆,则可将负面影响扼杀在摇篮。