{{ v.name }}
{{ v.cls }}类
{{ v.price }} ¥{{ v.price }}
众所周知,如果你申请注册的商标和别人已经注册的商标构成近似,是要被无情驳回的。
这不,上证所就碰到这件事,申请了多件商标接连因近似被驳回,但在驳回复审中用了一招,29件商标又重新通过。
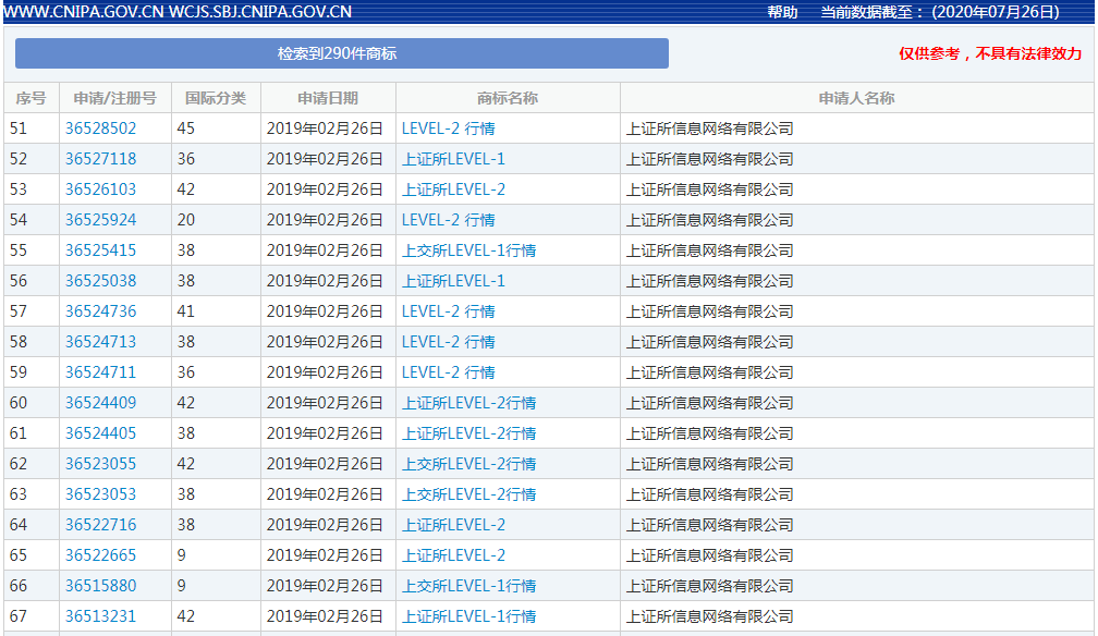
2019年2月25日和26日,上证所信息网络有限公司(下称上证所)集中申请注册了54件商标,包括“上交所LEVEL-1行情”、“上证所LEVEL-2行情”、“上证所LEVEL-1”、“上证所LEVEL-2”、“上证所LEVEL-1 行情”等等。

结果,这批申请有大半因为近似被驳回。上证所一看,近似的对方是自己的股东上海证券交易所(下称上交所),于是,在商标复审中,上证所提交了上交所出具的同意函,同意申请商标在复审商品上注册,这才得以让这批商标继续走注册流程。
这样相当于证明“我是我”,而这种情况在商标中有个专有名词,叫“商标共存”。
商标共存,是指两家不同的企业在商品或服务上使用相似或者相同的商标,而并不必然相互妨碍其商业活动。简单的说就是,本来应该近似驳回的商标,可以同时在市场上共存。
然而,想要商标共存,共存协议书必不可少,共存协议书是指本来存在冲突的两个商标权利人,签订了允许在后商标获得注册的协议。实践中通常以双方签订的共存协议书或在先商标权利人单方出具的注册同意书的形式出现。
需要明确的是,共存协议不能确保商标的注册,协议书仅仅只是作为一种参考。虽然近年来,司法实践中对共存协议的采信通常持较为宽松的态度。但是仍然有不少人认为,商标共存协议不能影响混淆性的判断。
也就是说,即便有了协议书,商标局也要谨慎参考,毕竟商标局除了要保护商标权人的利益,也要保护消费者的利益,如果消费者会因此产生混淆和误认,那也不能让商标通过。
商标共存协议书的存在,的确能省去不少商标权利人的麻烦。因为两方既然同意签订了协议书,也就代表了双方在日后的使用中会尽力避免混淆,在后申请者并不是为了傍名牌,也会更加谨慎的使用商标。是一个皆大欢喜的方式。
商标权利人签订的共存协议当然不能取代混淆可能性审查,成为在后商标获准注册的充分理由。但也不失为企业注册商标的一个新思路。