{{ v.name }}
{{ v.cls }}类
{{ v.price }} ¥{{ v.price }}
今日, 字节跳动上线了“头条百科”的移动端网页产品,并启用了baike.com域名,其slogan为“在这里,认识世界”。
启用baike.com,头条野心凸显
今日头条做搜索的野心,很早就暴露了。
2017年,前360搜索的产品负责人被挖角到今日头条;
2019年3月,网友发现今日头条支持站外搜索,但搜索结果仅为今日头条站内的内容为主;
同年7月31日发布搜索引擎招聘的微信推文,正式揭开字节跳动在搜索引擎上的布局序幕,向世人宣布:今日头条要做搜索引擎了!
10天后,头条上线了网页版通用搜索,启用的域名为https://m.toutiao.com/search。其搜索界面十分简约,搜索框里则是头条搜索的slogan:搜你想看。
2019年9月,今日头条完成了对互动百科的收购,直接持有后者100%的股份,这项长达一年的收购案也正式宣告完结。
互动百科成立于2005年,为商业中文百科网站。2016年,互动百科登上新三板,但次年业绩下滑,2019年1月终止挂牌。
此次收购,顺势将互动百科的域名baike.com也纳入今日头条名下,可谓一举两得。
根据whois信息了解到,baike.com注册于1998年,baike是“百科”的拼音,字面上可联想到百科全书,对于做搜索类的网站而言,此域名具有极强的标配性。
但商标方面,头条似乎慢了几拍。
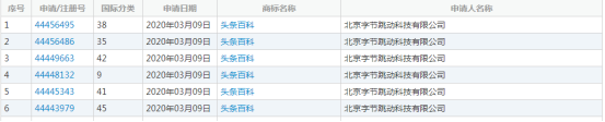
2020年3月,今日头条以母公司北京字节跳动科技有限公司的名义注册了第9类、35类、38类、41类、42类、45类的“头条百科”商标,但目前均为等待被受理的阶段。

此前,张一鸣此前便内部讲话表示:“如果没有搜索场景的拓展和优质内容,头条的增长空间可能只剩4000万DAU”。正是因为此,字节跳动需要加码搜索领域。
Toutiaobaike.com花落别处
目前上线的头条百科版本中,得到的搜索结果较为单一。
值得一提的是,与头条百科最相关的域名toutiaobaike.com目前被一家名为深圳故事文化传媒的公司所持有并启用。
该公司也持有一个名为“头条百科”的商业中文百科网站。

通过whois可知,toutiaobaike.com注册于2017年,有“头条百科”的含义,直接匹配今日头条的“头条百科”。
但这枚域名目前却不在头条手中,要拿下似乎也需要花费一番力气,放之不管,似乎会损失一大波自然流量,并且还有潜在风险。
头条将会如何抉择?是否会一并收购这个百科网站?