{{ v.name }}
{{ v.cls }}类
{{ v.price }} ¥{{ v.price }}
一年一度的双十一又来了,正逢秋冬换季、加衣保暖的时候,你的购物车里有没有一件“南极人”品牌的衣物?

南极人这个品牌相信大家都比较熟悉,以销售保暖内衣、服装等产品打响了品牌。一说南极人,大家似乎都比较认可这个品牌,觉得质量有保障。有数据显示,南极人是95后最喜欢的品牌榜单之中的第三位。
很多人可能觉得南极人是大厂,到处都是销售南极人品牌的产品,但其实南极人的工厂早在2008年开始就已经陆续停产,如今靠着商标授权的模式盈利。
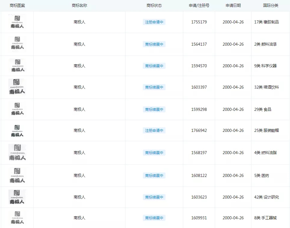
构卓企服查询了解到,南极人最早创立于1998年。当年,南极人关联公司南极电商(上海)有限公司申请了“南极人”和“北极人”两件商标,都注册在第25类-服装鞋帽相关商品上。

到了2000年,南极人公司重点注册“南极人”商标,45个类别全类保护,十分重视品牌的商标布局。

在之后的发展中,随着品牌logo的不断变化,南极人公司又陆续申请了“南极人”相关的商标进行保护,甚至还曾注册一件企鹅商标。

据不完全统计,南极人公司名下的商标超过了1700多件。就是这些商标,给南极人公司每年带来数亿元的收益。
目前,南极人公司主要通过商标授权的模式来盈利,也就是说我们所买到的南极人的产品,其实都不是南极人工厂自己生产的,而是把商标授权给别人使用,南极人从中赚取商标授权费用。
有数据显示,南极人授权的店铺数量已经超过7300家,并且授权的业务也比较广泛,除了常见的内衣、母婴产品之外,包括小家电等都有南极人品牌。2020年,南极人通过商标授权的模式赚了12亿。
南极人由此也被称为“国内第一卖标狂魔”,无人可及。从南极人这个案例可以看出,随着人们生活水平的不断提升,在购物时大家都更看重品牌,及时为品牌注册商标也至关重要,可以为品牌带来意想不到的收益。