{{ v.name }}
{{ v.cls }}类
{{ v.price }} ¥{{ v.price }}
近日你被“耗子尾汁”、“年轻人不讲武德”、“闪电五连鞭”刷屏了吗?
今年1月份,在一个2分多钟的视频里,浑元形意太极门掌门马保国顶着个黑眼球,操着浓重的方言讲述两位小伙在健身房“偷袭”他的经过,在视频的结尾,他控诉年轻人不讲武德,劝其耗子尾汁(好自为之)。
谁知视频在本月爆火,截止日前视频播放量高达2000w+。自出梗以来,除了各种表情包层出不穷,各大视频网站的弹幕、论区也留下了浓墨重彩的一笔,就连新歌《耗子尾汁》也已登陆各大音乐网站。
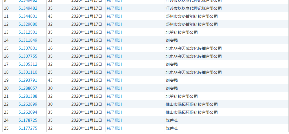
更有甚者,在大家都忙着剁手的双11,就开启了“耗子尾汁”商标抢注争夺战。据网传,有公司表示已有人打算出价15万以上购买此商标。

图片来源:中国商标网
随着热度的持续上升,11月24日,“耗子尾汁公司成立”突然登上微博热搜榜单引发网友热议。据天眼查显示,海南耗子尾汁文化传媒有限公司于11月23日注册,从事互联网直播服务、互联网信息服务等互联网和相关服务。
法定代表人陈澡龙表示,本来就想注册一家公司,刚好最近“耗子尾汁”非常火,就用作公司名称了。
不仅如此,据天眼查app显示,马老师的大招“五连鞭”也被悄然注册新公司。10月22日,武汉五连鞭建材有限公司成立,经营范围包括建筑装饰材料、机电设备等批发业。
同样的配方,一样的味道,是否让你想起前些年一夜间火遍全网的“蓝瘦香菇”?它也曾被抢注商标,也曾被注册成公司,但几年过去,“蓝瘦香菇”的热度早已不在,只存在人们深深的脑海里。
网络热词商标抢注成风
近年来,网络热词抢注商标屡见不鲜。譬如前不久的“秋天的第一杯奶茶”、“打工人”等。虽然热词能在一定程度上带来流量,但其时效性短,热度过后,价值大打折扣。
根据《商标法》第四十九条规定:……注册商标成为其核定使用的商品的通用名称或者没有正当理由连续三年不使用的,任何单位或者个人可以向商标局申请撤销该注册商标。
第六十四条规定:注册商标专用权人请求赔偿,被控侵权人以注册商标专用权人未使用注册商标提出抗辩的,注册商标专用权人不能证明此前三年内实际使用过该注册商标,也不能证明因侵权行为受到其他损失的,被控侵权人不承担赔偿责任。
也就是说,假设甲某成功注册了“耗子尾汁”商标,向被控侵权人乙某要求赔偿,由于甲某未在三年内未实际使用该商标,且未因乙某侵权行为受到其他损失,故而乙某不用承担赔偿责任。而且,乙某还能以“甲某连续三年未使用为由”向商标局申请撤销该注册商标,那么甲某先前注册的商标也就白费了。
网络热词注册商标标准
当然,前面是假设网络热词注册成功的情形,而对于网络热词是否可以注册商标,商标局首先考量的是商标显著性、有无类似商品或服务上的近似商标。
更重要的是,作为一种社会热词,商标局更会关注、也更可能关注其“是否有不良社会影响”,比如“不讲武德”、“耗子尾汁”这些商标,商标局就会重点考虑这些方面。
商标作为企业的无形资产,应当注重的是其长尾效应,而不是一时的热度。商标注册更需考虑企业发展方向以及战略布局,它们与企业品牌相辅相成,随着企业知名度的提高、产品销量的上升而越有价值。个人、企业、组织机构应该携起手来,正视商标的价值,创造良性有序的市场环境,杜绝抢注之风!